欢迎光临本商城
请登录
|
免费注册
用户中心
购物车( 0 )
品牌街
当前位置:
首页
>
资讯
文章列表
革命性产品 罗德Rode WirelessGO世界最小无线麦克风
RODE
盛嘉菲商城
·
2019-07-15
关于RED摄影机“黑平衡”一定要知道的事情
RED
盛嘉菲商城
·
2019-07-15
只需3步 把视频调成VSCO胶片电影色调
盛嘉菲商城
·
2019-07-12
画面乏味?新手如何拍摄出“纵深感”
盛嘉菲商城
·
2019-07-12
Pond5和路透社合作推出世界上最大的免版权视频集网站
Pond5
盛嘉菲商城
·
2019-07-11
手把手教你拍出定格瞬间的电影特效——子弹时间
盛嘉菲商城
·
2019-07-11
全球第一部运用ARRI掌镜控制设备OCU-1高效助力的电影《汉纳斯》
ARRI
盛嘉菲商城
·
2019-07-11
Loupedeck + 2.7.0更新支持Adobe Camera Raw
Loupedeck +
盛嘉菲商城
·
2019-07-10
学院比例/全景电影/立体声宽银幕/70mm胶片——你应该知道的宽高比知识
盛嘉菲商城
·
2019-07-10
科普文章:有关ADR – Automated Dialogue Replacement的一些知识
盛嘉菲商城
·
2019-07-10
RØDE发布TF-5小振膜电容麦克风
RØDE
盛嘉菲商城
·
2019-07-09
关于景深 你应该知道的一些事情
盛嘉菲商城
·
2019-07-09
“大”是所趋 关于大画幅摄影机你知道多少?
盛嘉菲商城
·
2019-07-09
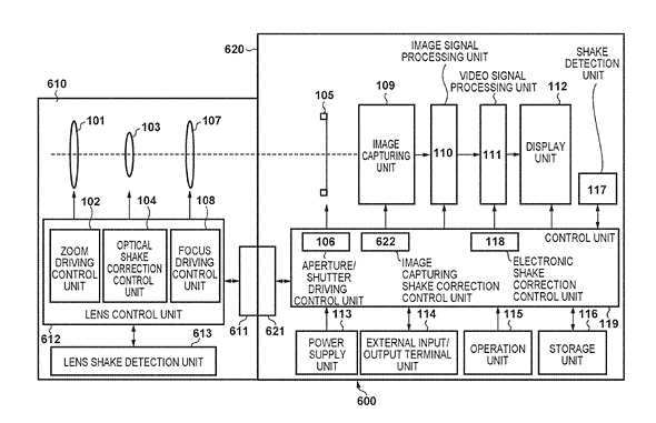
佳能专利详细介绍了用于低光视频录制的三重防抖系统
佳能
盛嘉菲商城
·
2019-07-08
不再为素材受损而发狂 做好这几点准没错
盛嘉菲商城
·
2019-07-08
掌握这5招技巧 你也能轻松拍出港式风格影片
盛嘉菲商城
·
2019-07-08
Insta360 Titan 11K 360电影摄像机现可购买
Insta360 Titan 11K
盛嘉菲商城
·
2019-07-04
视频拍摄器材中经常提到的“兔笼”到底是什么?
盛嘉菲商城
·
2019-07-04
【知识点】一种HDR与SDR同时兼顾的低成本调色流程
盛嘉菲商城
·
2019-07-04
Panasonic S1/S1R固件更新 可提高图像稳定性和AF性能
Panasonic S1
盛嘉菲商城
·
2019-07-03
总计 985 个记录,共 50 页。
第一页
上一页
下一页
最末页
1
2
3
4
5
6
7
8
9
10
11
12
13
14
15
16
17
18
19
20
21
22
23
24
25
26
27
28
29
30
31
32
33
34
35
36
37
38
39
40
41
42
43
44
45
46
47
48
49
50
关于我们
关于我们
联系我们
营业执照
荣誉
新手上路
新手上路
关于发票
配送与签收
支付方式
商城支付方式
售后服务
售后服务政策